一、设备介绍
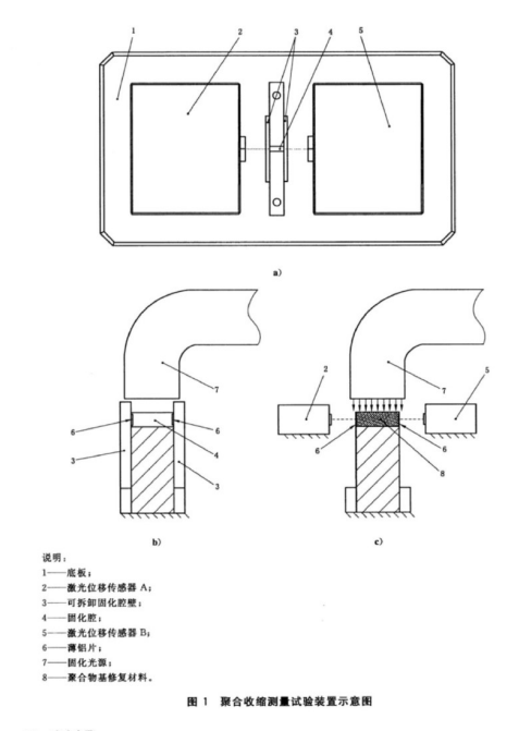
西安信捷PST100聚合收缩率测试仪依据标准YY/T 1599-2018《牙科学 聚合物基修复材料 聚合收缩测试方法 激光测距法》研制,本检测设备主要用牙科聚合物基修复材料,特别是用于填充修复的光固化牙科聚合物基修复材料聚合收缩试验用,聚合收缩测量方法采用激光测距法,该方法利用激光测距原理,可无接触,并实时测量聚合物基修复材料从光聚合前开始到材料发生聚合成为固态全过程的聚合收缩变化。
.png)
二、依据标准
YY/T 1599-2018《牙科学 聚合物基修复材料 聚合收缩测试方法 激光测距法》
三、试验方法
(一)环境条件:
室温:23±2℃,相对湿度:30%-80%;
实验材料在规定的室温环境中放置30min;
照度:大于520nm的黄光灯
(二)设备参数
1.激光位移传感器测量范围0-10mm;
2.两个激光位移传感器在固化腔长轴两端相对配置,并于固化腔之间刚性固定;
3.固化腔材质:聚四氟乙烯材质制作,尺寸:2*2*6.3mm,
4.光固化机:光源输出口直径大于7mm,可在规定的时间后手动/自动关闭;
5.润滑硅脂;
6.滤波片,正方形,厚度0.1-0.15mm,边长约1.5mm-1.8mm,
7.PE薄膜,厚度小大于0.01;
8.彩色7寸触摸屏显示,触摸屏操作模式

我公司专业提供牙科学类检测设备方案定制服务,更多相关检测设备和工装夹具请您咨询我公司销售人员。

Tel:18192739257 Tel:18962224055
销售部:刘工 销售部:乔工