一、设备介绍
RST150工作时间及固化时间测量仪是依据标准YY1042-2023《牙科学 聚合物基修复材料》(ISO 4049:2019),主要用于标准中规定的牙科修复材料/粘固材料工作时间和固化时间测量。
.png)
二、依据标准
YY1042-2023《牙科学 聚合物基修复材料》
三、试验方法
(一)水:实验用水应符合GB/T 6682-2008的2级水;
(二)环境条件:
室温:23±2℃(工作时间);37±1℃(固化时间)
湿度:大于30%,小于70%;
III类材料的测定在无辐射活化条件下进行;
尽量在暗室进行试验,人造光源经过黄色滤光片过滤;
(三)设备主要参数
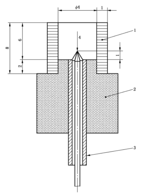
设备内置热电偶装置,该装置如标准图2 工作时间和固化时间测定器具图所示:

管(1):材质:高密度聚乙烯;长8mm,内径4mm,壁厚1mm,
聚酰胺块(2):材料为聚酰胺或类似材料;
试样槽:由(1)和(2)组成,高6mm,直径4mm;
不锈钢管(3):内置热电偶(4),热电偶直径:0.2±0.05mm;
我公司专业提供牙科学类检测设备方案定制服务,更多相关检测设备和工装夹具请您咨询我公司销售人员。

Tel:18192739257 Tel:18962224055
销售部:刘工 销售部:乔工